眾所周知,用作AC電爐爐底和斜坡工作層的堿性耐火混合料應該具備如下條件:
(1)抗水化性和抗2CaO.SiO₂晶型轉化以及抗3CaO·SiO₂分解性能較高;
(2)施工快速簡便;
(3)不需干燥或者加熱,爐子可立刻啟動;
(4)燒結性能高,并能獲得充分的陶瓷結合;
(5)施工體密度髙,氣孔率低;
(6)體積穩定性高,收縮小;
(7)抗侵蝕性能高;
(8)抗機械應力和熱應力的能力高。
可以通過控制化學成分和顆粒尺寸來獲得上述性能。
目前,AC電爐所采用的堿性耐火混合料以MgO-CaO-FeOn質材料為主。當考慮到原料中還存在SiO₂和Al₂O₃等雜質成分時,它們屬于MgO-CaO-FeOn-Al₂O₃-SiO₂系統。由于混合料中的CaO/SiO₂>2,故其礦物組成為方鎂石、方鈣石、3CaO·SiO₂、2CaO·SiO₂、2CaO·Fe₂O₃和4CaO·Al₂O₃·Fe₂O₃。
現在,AC電爐用MgO-CaO-FeOn質混合料主要有兩類:
(1)含fCaO類型;
(2)無fCaO類型。
化學成分控制
MgO-CaO質耐火材料應用于煉鋼爐子中作內襯時,通常都希望含有相對較高的CaO。在MgO-CaO-熔體系中,異晶間的頸處形成的二面角Φ比同晶間頸處所形成的二面角Φ大得多,如:
因此,含有較高CaO的MgO-CaO系耐火材料能保證它們在同熔渣接觸時提高熔渣相的堿度和粘度,從而可以抑制顆粒間熔渣剩余物的滲透。但是,也存在一個最佳MgO/Ca0比例問題。圖3-1示出了在轉爐冶煉中的最佳MgO/CaO比例隨冶煉條件的變化情況。考慮到電爐終渣的CaO/SiO₂在1.8~3.5之間,如果用圖1來解釋電爐熔池工作襯時,由于電爐的操作溫度一般都很高,因而認為用于電爐堿性耐火混合料中的最佳MgO/CaO比例也不應該太低。
如圖1所示,冶煉溫度升高,其最佳MgO/CaO比例也需要隨之增高。對于髙混操作,最佳MgO/CaO=75/25;而對于超高溫操作,最佳MgO/CaO=90/10。因為較高的CaO含量(相對較低的MgO/CaO比例)對應著較高的熔損速度,溫度越高其熔損就越快。當然,對于MgO-CaO-Fen質混合料而言,MgO/CaO比例也不能太高。當混合料中的MgO/CaO>90/10時,由于在高溫下缺少足夠的液相會導致燒結性能下降。
圖1 磚的組成、冶煉條件與爐襯壽命的關系
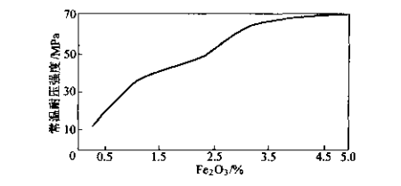
關于Fe₂O₃配入量,可以從圖2中得到了解。在1600℃的條件下,當MgO-CaO-FeOn系同Fe(鋼水)平衡時,只要MgO/FeOn>2.33時就不會出現液相,表明該材質具有很高的高溫性能。MgO-CaO-FeOn質混合料中所含數量不同,會導致混合料的燒結性能變化,圖3示岀含有不同Fe₂O₃的堿性耐火混合料由于燒結性不同,在1600℃燒成之后所表現岀不同的常溫耐壓強度。該圖表明,含5%Fe₂O₃(相當于MgO-CaO-2CaO·Fe₂O₃砂含約7%Fe₂O₃的堿性耐火混合料在1600℃時形成了堅固的工作表面,估計其耐用性能必定較高。然而,在氧化氣氛下(電爐出完鋼時),MgO·Fe₂O₃卻容易被2CaO·SiO₂和2CaO·Fe₂O₃所侵蝕,如圖4所示。說明在MgO-CaO-FeOn質堿性混合料中,MgO/Fe₂O₃≥2.33才會具有高抗侵蝕性能。不過,當Fe₂O₃<5%時,由于材料中難于產生必要的液相,會降低它們的燒結性能。因此,5%就是MgO-CaO-FeOn質電爐熔池用堿性耐火混合料中Fe₂O₃的最低含量。通常,為了兼顧燒結性和耐蝕性,其Fe₂O₃的配入量為7%左右(對于生產MgO-CaO-Fe₂O₃砂而言)。
圖2 FeOn-CaO-MgO與Fe共存時于1600℃的狀態圖(MK為固溶體,S為熔液)
考慮到FeOn的抗蝕性能遠低于MgO這一事實,因而配入的Fe₂O₃均應以2CaO·Fe₂O₃的形態存在。由此求出CaO的最少控制量為CaO>0.7Fe₂O₃,以保證CaO同Fe₂O₃反應生成2CaO·Fe₂O₃之后尚剩有fCaO,以提高材料的抗滲透能力。在MgO-CaO-FeOn-Al₂O₃-SiO₂五元系中,當CaO>1.1Al₂O₃,+2.8SiO₂+0.7Fe₂O₃時,材料中即會有fCaO存在。

圖3 混合料在1600℃燒成后的常溫耐壓強度
圖4 C2S-C2F-MF斷面中的熔化等溫線
從表面看,SiO₂對于MgO-CaO質耐火材料的高溫性能不會有明顯的負作用,如圖5和圖6所示,將SiO₂加入到MgO/CaO=0~∞的任何MgO-CaO質耐火材料中,液相出現的溫度都不會低于1850℃。然而,它卻會使低MgO/CaO比值的MgO-CaO質耐火材料的抗渣性下降,并且會大量消耗MgO-CaO質耐火材料中的CaO而生成2CaO·SiO₂(在無fCaO存在時)和3CaO·SiO₂,而將方鎂石表面的2CaO·Fe₂O₃質液相排擠出去,使之促進MgO-CaO質耐火材料的燒結作用大為減弱。如果在使用過程中進一步吸收SiO₂就有可能生成大量的2CaO·SiO3,后者又會在較低溫度(小于1200℃)下轉化為r-2CaO·SiO₂,并伴有約10%-20%的體積膨脹,從而造成材料碎散。因此,通常規定電爐用堿性耐火混合料中的SiO₂不大于1.2%,優質堿性耐火混合料中的SiO₂應小于1%。

圖5 CaO-MgO-SiO₂系統的貧硅部分
關于Al₂O₃雜質,它雖然可同CaO和Fe₂O₃反應生成4CaO•Al₂O₃•Fe₂O₃(T5=1415℃)
使MgO-CaO系統的最低共熔點溫度由2300℃迅速下降到1320℃,如圖3-7所示。雖然這種液相能夠有效地促進MgO-CaO質耐火材料的燒結,但它是穩定的液相,會明顯降低該材料的抗侵蝕性。這就說明,MgO-CaO-FeOn質混合料中應嚴格限制Al₂O₃含量。對于優質堿性耐火混合料來說,Al₂O₃含量通常應限制在0.5%以下。





